Comunidad Electrónicos



Alterador de voltaje de línea

Todo aparato electrónico alimentado con la red eléctrica de CA (Corriente Alterna) de 120 o 220V (dependiendo del país donde se encuentre) está expuesto a variaciones de voltaje en la misma. Esta variaciones llegan en algunas ocasiones hasta 10% del voltaje nominal de la red.

A veces, para verificar el correcto funcionamiento de una fuente conmutada o un circuito regulador de voltaje convencional, es necesario someter al equipo a las posibles variaciones de voltaje que pueda encontrar en su funcionamiento cotidiano. Para esto existen algunos dispositivos como los Variac o los "Estabilizadores" o Regularores de Conmutación Manual. Estos suelen ser costosos.

Con pocos componentes y a un bajo costo se puede fabricar un dispositivo que permite reducir o elevar (dentro de determinado margen) el voltaje de línea para simular las variaciones que ocurren normalmente en la red eléctrica, y probar así, los aparatos eléctricos y equipos electrónicos, sometiéndolos a esas variaciones.

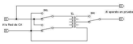
Diagrama del circuito

Diagrama de alterador de voltaje de línea

Componentes

T1 -  Transformador con primario de 120V o 220V (de acuerdo a la red) y secundario de 6 + 6V, para 2A como mínimo.

SW1 - Interruptor de dos polos y dos posiciones (DPDT) que soporte como mínimo 3A de C.A.

SW2 -Interruptor de un polo y dos posiciones (SPDT) que soporte como mínimo 3A de C.A.

El funcionamiento es sencillo, T1 actúa como un auto transformador, Elevador o Reductor, dependiendo de la "fase" de conexión del primario, lo cual se selecciona con SW1.
Con SW2 se selecciona entre 6V o 12V la variación de voltaje que deseamos (aumentar o reducir) con respecto al voltaje de línea.

Este dispositivo, no pretende competir con otros de uso Profesional o de Laboratorio. Solo es una herramienta de bajo costo para facilitar la comprobación de fuentes y reguladores de voltaje, a quienes no disponen de otro medio para hacerlo.
Espero que les sea de utilidad.

Luis Alberto Tamiet - Técnico en Electrónica
www.comunidadelectronicos.com


Información relacionada:

Medidor de consumo eléctrico
Como implementar un sencillo circuito, para medir el consumo eléctrico (en Watts) de aparatos eléctricos, usando el multímetro.

Dimmer: Un Variac electrónico económico
Cómo implementar un "variac" electrónico para pruebas de fuentes computadas y otros, utilizando un dimmer de iluminación.

Transformador aislador
Que es un transformador aislador, cual es su propósito y como implementar uno con material reciclado de equipos en desuso.



   
Este sitio utiliza cookies propias y de terceros con fines estadísticos y para ofrecerle anuncios de su interés. ACEPTAR Más información